The Features of PCD Straight Tipped End Mills:
(1) High hardness and Excellent wear resistance,
(2) High precision, high conductivity and strong toughness
(3) High working efficiency, low tool cost,
(4) Obtain high surface roughness
(5) Halnn PCD End Mill has Stable performance and Long tool life,
Application Industry of PCD Straight Tipped End Mills
(1) 3C (Computer, Communication and Consumer Electronic)
(2) Automotive Industry
(3) Aerospace Industry
Suited Materials
(1) Al, Mg, Si, Ti non-ferrous metal and so on,
(2) Fiber materials, Insulation materials, Plastics, Composite materials and so on.
Single Straight Flute PCD End Mills Specifications :
Remark: (1) This type end mill not only can be made with single blade, but also can be made 2 or more blades.
(2) We also accept customerized drawings and make design for you as your requirements.
(3) Code Rules as follows:

(1) High hardness and Excellent wear resistance,
(2) High precision, high conductivity and strong toughness
(3) High working efficiency, low tool cost,
(4) Obtain high surface roughness
(5) Halnn PCD End Mill has Stable performance and Long tool life,
Application Industry of PCD Straight Tipped End Mills
(1) 3C (Computer, Communication and Consumer Electronic)
(2) Automotive Industry
(3) Aerospace Industry
Suited Materials
(1) Al, Mg, Si, Ti non-ferrous metal and so on,
(2) Fiber materials, Insulation materials, Plastics, Composite materials and so on.
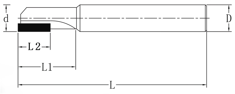
Single Straight Flute PCD End Mills Specifications :
|
Single Straight Flute PCD End Mills |
||||||
![]() |
||||||
|
Models
|
Shank Diameter (D)
|
Blade diameter (d)
|
Length (L)
|
Depth (L1 )
|
Blade Length (L2)
|
Teeth No (Z)
|
|
SM0602500503-1S
|
6
|
2
|
50
|
5~8
|
3
|
1
|
|
SM0603500505-1S
|
6
|
3
|
50
|
5~8
|
5
|
1
|
|
SM0604500806-1S
|
6
|
4
|
50
|
8~10
|
6
|
1
|
|
SM0605500806-1S
|
6
|
5
|
50
|
8~10
|
6
|
1
|
|
SM0606501008-1S
|
6
|
6
|
50
|
10~15
|
8
|
1
|
|
SM0607501008-1S
|
6
|
7
|
50
|
10~15
|
8
|
1
|
|
SM0808601510-1S
|
8
|
8
|
60
|
15~20
|
10
|
1
|
|
SM0809601510-1S
|
8
|
9
|
60
|
15~20
|
10
|
1
|
|
SM1010701512-1S
|
10
|
10
|
70
|
15~20
|
12
|
1
|
|
SM1011701512-1S
|
10
|
11
|
70
|
15~20
|
12
|
1
|
|
SM1210701815-1S
|
12
|
10
|
70
|
18~25
|
15
|
1
|
|
SM1212701815-1S
|
12
|
12
|
70
|
18~25
|
15
|
1
|
|
SM1414701815-1S
|
14
|
14
|
70
|
18~25
|
15
|
1
|
|
SM1615702218-1S
|
16
|
15
|
70
|
22~28
|
18
|
1
|
|
SM1616702218-1S
|
16
|
16
|
70
|
22~28
|
18
|
1
|
Remark: (1) This type end mill not only can be made with single blade, but also can be made 2 or more blades.
(2) We also accept customerized drawings and make design for you as your requirements.
(3) Code Rules as follows:



